
自动粉末取样器用于各种管道内粉末、颗粒定期取样,该装置设计采用螺旋输送原理,当粉末撞击沉落在取样嘴中,利用外部电动执行机构旋转螺旋输送装置,粉末将通过取样管送到落粉管进入取样瓶中。不堵粉,取样快,密封好。
工作原理
取样嘴固定安装在管道中,取样嘴背对着粉末气流运行方向,粉末在管道中沉落,使取样嘴中聚集很多粉末,再由取样管中的螺旋输送装置,将落入粉末输送至沉落管中,进入取样瓶里。取样结束后,关闭阀门拧下取样瓶将样品取出即可。为了取样具有代表性建议在每次取样前应先反转清粉。

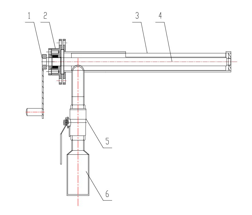
1、取样手柄 2、连接法兰 3、螺旋输送器4、安装连接管 5、球阀 6、取样瓶
一、控制柜使用说明:
1、控制柜供电:220VAC 5kW。
2、控制取样器数量:1台。
3、每台取样器有独立控制短路器。
4、反转定时器T1 2---30S
5、取样定时器T2 2---30min
二、取样步骤:
1、合上待取样的取样器电源断路器QS1----QS10,打开对应的取样门。
2、检查或设定反转定时器时间为5秒。
3、检查或设定取样定时器时间为4分。
4、按反转按钮:取样器反转清扫退样,反转指示灯亮。
5、反转指示灯灭后5秒按取样按钮:取样器正转取样,取样指示灯亮。
6、关闭取样门,旋下煤粉取样瓶取样。
7、按反转按钮:取样器反转清扫退样,反转指示灯亮。
8、在可逆电机正、反转时按中停按钮即可使其停转。
